yy6090免费高清电视-yy影院免费观看电视剧大全-yy影院免费观看电视剧网站-yy影院在线观看免费播放电视剧大全
目錄
返回首頁
導航目錄
部門首頁
部門概況
部門簡介
機構設置
科室職責
工作動態
通知公告
部門動態
規章制度
聯系我們
服務流程
采購流程
招標流程
報修流程
物業服務
服務流程
采購流程
招標流程
報修流程
物業服務
推薦新聞
后勤保衛處召開3月食品安全調度會
衡陽技師學院管道直飲水出水水樣檢測
衡陽技師學院實訓工裝供應商遴選項目招標公告
衡陽技師學院三食堂(東院)合作經營項目 競爭性磋商邀請公告
衡陽技師學院一號、二號、三號商店合作經營項目招標公告
衡陽技師學院2023年度印刷服務采購項目公開招標中標公告
您現在的位置:
服務流程
招標流程
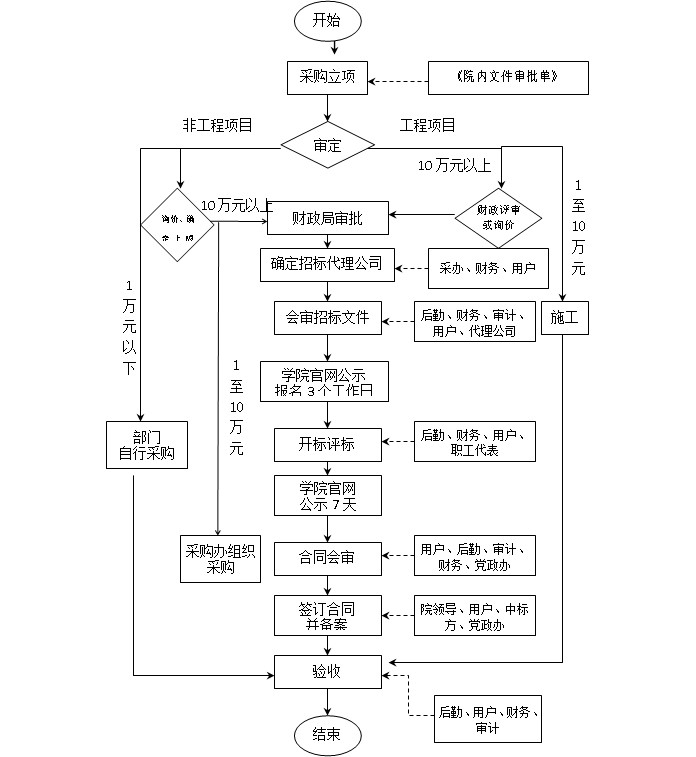
院內采購、招標
來源:后勤保衛處
發布日期:2020-12-30
瀏覽量:
院內采購、招標
上一篇:
已經是最后一篇!
下一篇:
政府采購限額標準以上采購流程
友情鏈接
國家級網站
人力資源與社會保障網
中國共產黨新聞網
中國教育報
省級網站
湖南省人力資源和社會保障廳
市級網站
衡陽教育信息網
合作伙伴(學校、企業)
湘電集團
中國鐵建
院本部地址:衡陽市衡南縣三塘鎮振興路5號 郵編:421101
網站備案號:湘ICP備17008842號-1
版權所有:衡陽技師學院
招生辦公室:0734-8729898 黨政辦公室:0734-8729305
郵箱:hyjsxy@163.com
建議使用IE10及以上版本瀏覽器瀏覽,推薦分辨率:1920*1080
技術支持:成都依能科技股份有限公司